
python如何实现三级菜单效果的代码示例
以区域地理为例子划分三级菜单:
中华地区一级划分:
华东
华中
华北
东北
特别行政区
华南
-------------------------------------------------
请输入你要查看的大中华地区名字:东北
------------------包含的省名字二级:-----------------
黑龙江
辽宁
吉林
-------------------------------------------------
请输入你要查看的省名字:黑龙江
--------------包含的城市名三级:-------------------
哈尔滨
佳木斯
大庆
齐齐哈尔
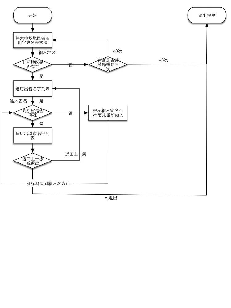
程序大概的思路和逻辑:
1 将大中华地区划用字典列表来构造,用key取省或者地市列表,用for遍历显示字典或者列表的元素
2 根据整个字典的key,得到省列表,遍历打印省的名字列表
3 设置用于跳出外循环的flag(跳出嵌套循环)
4 两层嵌套循环,外循环for指定3次固定循环,3次输入省名字错误,程序退出(在外循环for后,通过else来实现)
内循环while True是死循环,不指定次数(地市名字输入错误后,会一直要求输入,直到输入正确为止),通过break退出内循环
5 通过整个字典的key得到省列表,通过省字典的key得到地市列表,遍历打印地市的名字列表
6 判断输入的地市是否在省字典中,在的话,通过省字典的key,for遍历打印城市的名字列表不在的话,提示"输入的省名字不对,请重新输入",continue跳出当次迭代(循环),继续输入省名字还在内循环while中
7 打印城市表后,2个选择,1是退出整个程序(2个嵌套循环都退出),2是回到上一级别菜单(只需要退出内循环的当前迭代)
8 回到上一级别菜单(只退出内循环while) 判断用户输入的是否是"b",是的话,continnue 退出内循环的当前迭代,开始内循环下次迭代
9 退出整个程序(2个嵌套循环都退出) 判断用户输入的是否是"q",是的话,先将flag变成True,然后break退出while内循环
10 再做一个判断,判断flag是否是True,如果是的话,break退出for外循环,至此,退出整个程序(2个嵌套循环都退出)
流程图:

代码:
1. #!/user/binenv python3
2. # -*- coding:utf-8 -*-
3.
4. ’’’
5. Created on: 2018年1月1日
6.
7. @author:大狗
8.
9. Email: ####@###.com
10.
11. Version: 1.0
12.
13. ’’’
14.
15.
16. china_map ={
17. "华南":{
18. "广东":["广州市","佛山市","深圳市","东莞市"],
19.
20. "广西":["南宁市","柳州市","桂林市","北海市"],
21.
22.
23. "海南":["海口市","三亚市","三沙市","儋州市"]
24.
25. },
26. "华东":{
27. "上海":["黄浦区","卢湾区","徐汇区","长宁区","普陀区"],
28.
29. "安徽":["合肥市","芜湖市","淮南市","马鞍山市"],
30.
31. "江苏":["南京市","无锡市","徐州市","常州市","苏州市"]
32.
33. },
34. "华北":{
35. "北京":["东城区","西城区","朝阳区","丰台区","石景山区","海淀区"],
36.
37. "山西":["太原市","大同市","阳泉市","长治市"],
38.
39. "河北":["石家庄市","唐山市","秦皇岛市","邢台市"]
40.
41. },
42. "华中":{
43. "湖北":["武汉市","黄石市","十堰市","十堰市"],
44.
45. "河南":["郑州市","开封市","洛阳市","平顶山市"],
46.
47. "湖南":["长沙市","株洲市","衡阳市","邵阳市"]
48.
49. },
50. "东北":{
51. "黑龙江":["哈尔滨市","佳木斯市","大庆市","齐齐哈尔市"],
52. "吉林":["长春","吉林市","四平市","延边市"],
53. "辽宁":["沈阳市","大连市","锦州市","鞍山市"],
54.
55.
56. },
57. "特别行政区":{
58. "香港":["屯门","弯仔","北角","西贡"],
59. "澳门":["花地玛堂区","圣安多尼堂区","大堂区","望德堂区"],
60.
61. },
62.
63.
64. }
65.
66.
67. print ("-------------------------------------------------")
68. print ("+ +")
69. print ("+ +")
70. print ("+ 欢迎来到大中华地区查询系统地 +")
71. print ("+ +")
72. print ("+ +")
73. print ("-------------------------------------------------")
74. print ("大中华地区一级划分:")
75. for i in china_map: #遍历字典的key,列出大中华地区的名字
76.
77. print (i)
78. print ("-------------------------------------------------")
79. jump_flag = False #用于跳出外循环
80. for i in range(3): #外循环,指定循环3次,3次外循环完了,就退出程序
81. greater_china_name = input("请输入你要查看的大中华地区名字:")
82. if greater_china_name in china_map: #检查输入的地区是否在地图中,如果地区名字3次输入错误,程序退出
83. gc_name = china_map[greater_china_name]
84. province_name = gc_name.keys()#使用输入的信息作为key,取出省信息,存在字典中
85. while True: #内循环,死循环,不指定循环次数,通过break或者flag跳出
86. print ("------------------包含的省名字二级:-----------------") #分隔线
87. for i in province_name: #遍历列表,取出省名字,打印出来
88. print (i)
89. print ("-------------------------------------------------") #分隔线
90. sheng_name_input = input("请输入你要查看的省名字:")
91.
92. if sheng_name_input in province_name: #判断输入的省名字是否在地区列表中
93. shi_name = china_map[greater_china_name][sheng_name_input] #取出省中有哪些市,存在列表中
94. print ("--------------包含的城市名三级:-------------------") #分隔线
95. for i in shi_name: #遍历列表,取出地区市名字,打印出来
96. print (i)
97. print ("------------------------------------------------") #分隔线
98.
99. if sheng_name_input not in province_name: #如果输入的省名字不在在地区列表中
100. print ("输入的省名字不对,请重新输入")
101. continue #跳出当次迭代,开始下一次迭代循环,直到地市名字输入正确为止(不停的要求输入)
102. back_or_quit = input("请问是否退出?按b:Back是返回上一级菜单;按q:Exit是退出整个程序")
103. #显示完地区市后,就要退出程序了,一个是全部退出,一个是返回上一级菜单
104. if back_or_quit == "q":
105. jump_flag = True #用于跳出外循环
106. break #跳出while内循环
107. if back_or_quit == "b":
108. continue #跳出当次迭代,开始下一次迭代循环,重新输入省处,返回上一步
109. print ("你输入的信息有误,请重新输入")
110. if jump_flag: #跳出外循环的条件满足
111. break #跳出外循环
112. else:#上面的3次for循环正常执行完毕,else才会执行,如果是不正常退出(break),else不会执行
113. print ("3次输入错误,程序退出")